动物医生
您的位置: 宠物医生 > 动物医学 >

(二)奶牛场的建设

    来源:辈宠网

牛舍及挤奶厅应参照前文中的设计要求,结合当地实际条件和需要进行建设。

1.牛舍的形式

(1)按牛舍屋顶形式分为钟楼式、半钟楼式、双坡式和弧形式四种,见图7.8。

1)钟楼式:通风良好,适合于南方地区,但构造比较复杂,耗料多,造价高。

2)半钟楼式:通风较好,但夏天牛舍北侧较热,构造复杂。

3)双坡式:屋顶呈楔形,适用于较大跨度的牛舍。造价较低,适用性强,在南、北方均用得较为普遍。

4)弧形式:采用钢材和彩钢瓦作为材料,结构简单,坚固耐用,适用于大跨度的牛舍。

图7.8 牛舍形式

(2)按饲养方式不同,分为拴系式和散栏式牛舍。

1)拴系式牛舍:该牛舍是一种普遍使用的传统牛舍。每头牛都有固定的牛床,用颈枷或链条拴住牛只。其优点是饲养管理可以做到精细化,而缺点是费事、费时,难以实现高度的机械化,劳动生产率较低。一般每头牛的牛床面积为1.5~2.0平方米。拴系式牛舍内布局可分单列式、双列式和四列式等。牛群20头以下者可采用单列式,20头以上者多采用双列式。双列式牛舍内分对头式和对尾式两种,一般认为对尾式比较理想,有利于通风采光和减少疾病的传播。如图7.9所示。

图7.9 对尾式牛舍

2)散栏式牛舍:该牛舍分采食区、休息区和挤奶区,便于规模化生产,可大幅度提高劳动效率;同时牛舍内部设备简单,造价低,减少褥草消耗(大约节省75%)。奶牛在散栏式牛舍内可在采食区和休息区自由活动,感觉舒适。不足是不易做到个别饲养,由于共同使用饲槽和饮水设备,传染疾病的机会多。由于饲养管理群体化,目前,国内新建的机械化奶牛场大多采用散栏式饲养,这是现代奶牛业的发展趋势。图7.10为散栏式牛舍的总体布局。

图 7.10 散栏式牛舍的总体布局

散栏式牛舍的总体布局应以奶牛为中心,通过对粗饲料、精饲料、牛奶、粪便处理4个方面进行分工,逐步形成4条生产线。牛舍应建有公用的兽医室、人工授精室、产房和供水、供热、排水、排污设备,以及道路等(图7.10)。

散栏式牛舍由于牛群移动频繁,泌乳牛都在挤奶厅集中挤奶,生产区内各类牛舍要有一个统一的布局,要求牛舍相对集中,并按泌乳牛舍、干奶牛舍、产房、犊牛舍、育成牛舍顺序排列,使干奶牛、犊牛与产房靠近,而泌乳牛与挤奶厅靠近。

散栏式牛舍可分为房舍式、棚舍式和阴棚式。房舍式牛舍适合于北方,一般屋脊上有钟楼式或其他形式的排气设置。棚舍式牛舍适于气候较温暖的地区,四边无墙,只有屋顶,形如凉棚,通风良好。阴棚式牛舍适于天气热而雨量又不太多,土质和排水好,有较大运动场的地区,饲槽设在运动场的较高地段。

散栏式牛床排列,可根据规模大小设计成单列式、双列对头式或双列对尾式、三列式和四列式。其他内部设施可参考拴系牛舍。

由于散栏式牛床与饲槽不直接相连,为了方便牛卧息,一般牛床总长为2.5米,牛床比通道高15~25厘米,边缘成弧形,常用垫草的牛床床面可比床边缘稍低些,以便用垫草或其他垫料将之垫平。不用垫料的牛床床面可与边缘平,并有4%的坡度,以保持牛床的干燥。 牛床的隔栏由2~4根横杆组成,顶端横杆高1.2米,底端横杆与牛床地面的间隔以35~45厘米为宜。隔栏的式样主要有大间隔隔栏(图7.11)、稳定短式隔栏(图7.12)等。牛舍内走道的结构视清粪的方式而定。一般为水泥地面,并有2%~3%的斜度,走道的宽为2.0~4.8米。采用机械刮粪的走道宽应与机械宽相适应,采用水力冲洗牛粪的走道应用漏缝地板,漏缝间隔为3.8~4.4厘米。饲架将休息区与采食区分开,散栏式饲养大多采用自锁式饲架,其长度可按每头牛65厘米计。

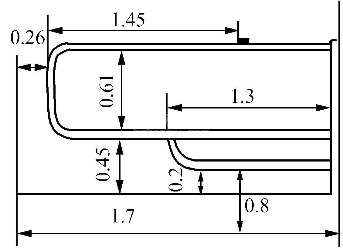
图7.11 大间隔隔栏及牛床(单位:米)

图7.12 稳定短式隔栏及牛床(单位:米)

2.牛舍内的主要设施建设

(1)牛床:牛床是奶牛采食、挤奶和休息的场所,应具有保温、不吸水、坚固耐用、清洁、消毒方便等特点。牛床的排列方式,根据牛场规模和地形条件而定,可分为单列式、双列式和四列式等。牛床要求长宽适中,牛床过宽过长,牛活动余地过大,牛的粪尿易排在牛床上,影响牛体卫生;过短或过窄,会使牛体后躯卧入粪尿沟而影响挤奶操作。牛床的坡度应适当,并要高于舍内地面5厘米,以利于冲洗和保持干燥。坡度通常为1%~1.5%,但不要过大,否则奶牛易发生子宫脱和脱胯。北方寒冷,地面潮凉,牛床上应铺硬质木板、橡皮或塑料材料做面层,木板表面刨糙,防止奶牛滑倒。牛床的长、宽设计参数见表7.1。

表7.1 牛床长、宽设计参数(单位:厘米)

牛群类别 长度 宽度
成年奶牛

青年牛

育成牛

犊牛

170~180

160~170

150~160

120~150

110~130

100~110

80

60

热门动物医学